行業資訊
公路橋梁的設計荷載等級是如何選取的?
最近關于橋梁的討論不少,從討論中看出不少網友對于橋梁中的荷載有不少疑惑,因此特地談談橋梁實踐中,荷載是如何選取的。
我國目前執行的公路橋梁荷載出自2004的公路橋梁通用規范(簡稱04規范),而目前正在運行的橋梁有相當一部分采用的85年的公路橋梁通用規范(簡稱85規范)。
85規范中,分為兩種荷載:汽車荷載與平板掛車履帶車荷載。
汽車荷載分為若干等級:汽10,汽15,汽20,汽超20。懷柔的橋報道中好像提到是汽20.
汽車荷載是一個車隊,即一個車道有這么一個車隊過橋,根據橋梁寬度可以確定若干個車道,這樣就有若干個這樣的車隊過橋。(當然還有橫向折減的概念)
下圖是汽車車隊的縱向布置,單位是(kN),圖中可以看出汽20對應的最重車為30噸,汽超20的最重車為55噸,新聞報道中好像搞混淆了這兩個。

下圖是車隊中某種重量的車的軸重分配。

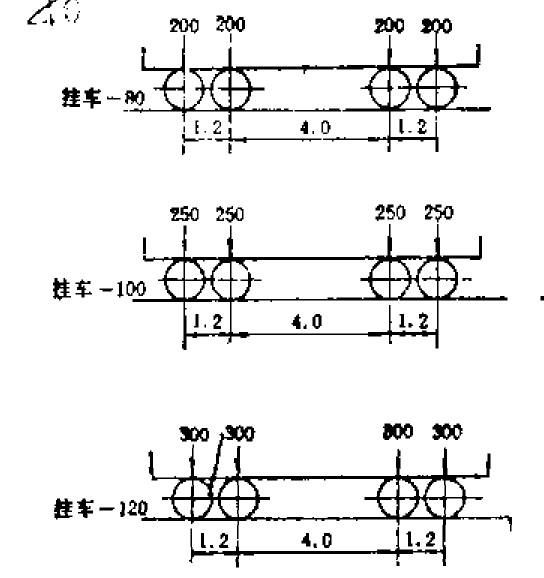
對于掛車荷載,也分為若干等級。與汽車荷載不同的是,規范規定,一座橋梁中只允許有一輛掛車上橋,無論是橫向還是縱向。
下圖是掛車的縱向布置。

汽車荷載與掛車荷載一般配套出現,下圖是配套關系。

所以懷柔那個橋,如果是汽20等級,一般還會有掛100的掛車配套,當然掛車100噸與普通貨車超載到100噸,效果是不一樣的,掛車的軸多,每個軸分擔的荷載會小一些,比普通三軸貨車超載到100噸,產生的效應要小一些。
04規范中對荷載進行了簡化,荷載等級只有2級,公路一級,公路二級,
其取值也進行了簡化,公路一級由一個均布荷載(集度10.5kN/m)與集中荷載(大小與跨度有關,最小是180kN,最大為360kN)構成。公路二級為公路一級乘以0.75。當然還有相應用來驗算與局部加載的車輛荷載,這個與85規范類似。
更多相關信息 還可關注中鐵城際公眾號矩陣 掃一掃下方二維碼即可關注

文章推薦
- “全域土地綜合整治”的5個建設內容和6個整治模式
- 上海:《關于深入開展全市域土地綜合整治 助推郊野空間提質增效的實施意見》解讀
- 陽泉市規劃和自然資源局召開全域土地綜合整治工作專題會
- 工業園區“定制化”供水:中鐵城際智慧水務系統如何匹配高純度用水需求?
- 農村供水“最后一公里”破局:中鐵城際供水智慧系統如何解決分散站點運維難題?
- AI+物聯網:中鐵城際智慧供水系統如何從“被動搶修”轉向“主動防御”?
- 市政道路設計流程與技巧:新手快速上手的6個核心步驟
- 市政道路設計關鍵要點:從線形規劃到管線綜合的避坑指南
- 2025市政道路設計最新規范與全流程解析
- 自然資源部:推進全域土地綜合整治 已經累計整治超1000萬畝




